双色球第2025129期开奖号码:03、04、07、13、20、30+03

一等奖中奖情况:
天津1注,河北6注,山西1注,江苏2注,山东1注,湖北1注,广东2注,青海1注,深圳1注,共16注。
下期一等奖奖池累计金额:2,822,006,563元

本期开奖号码回顾:

连号现象持续活跃
本期开出03、04这组连号,这是近期连续第十期出现连号组合。连号的高频出现已经成为当前阶段最显著的特征,而且多集中在小号区域。
区间分布再现特征
一区(01-11)有3个号码(03、04、07),二区(12-22)有2个号码(13、20),三区(23-33)有1个号码(30)。三区明显偏少,且30号单独出现,这种分布往往下期三区将迎来回补。
蓝球热号持续发力
蓝球03近期表现活跃,近10期内已经出现2次。小号蓝球(01-08)在近期占据明显优势。
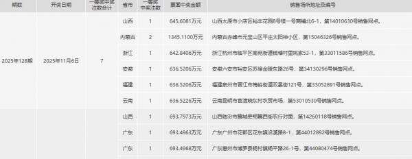
上期开奖出处明细如下

近二十期一等二等开奖结果如下

提醒:
1、每期投入少于10元,每月投入不超过100元。
2、任何分析都无预测功能
备忘:
1、看点:03、05、07、09、13、17、24、28、31、33 / 01、06、13